디지틀조선TV 유튜브 바로가기

LG전자, 독일 밀레와 로봇청소기 특허 사용계약 체결

정문경 기자 ㅣ jmk@chosun.com
등록 2020.06.01 10:07

충전 유도 가이드 등 로봇청소기 독자 기술 3개 대상

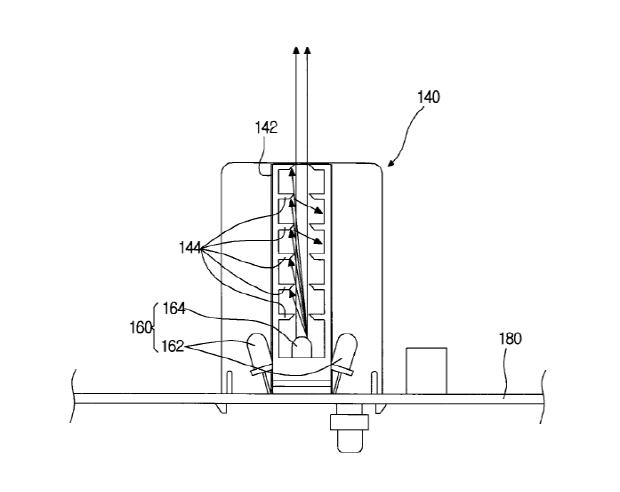
LG전자 로봇청소기 충전 유도 가이드 특허기술. /LG전자 제공

LG전자가 최근 유럽의 대표적인 가전업체인 독일 밀레와 로봇청소기 특허 라이선스 계약을 체결했다고 1일 밝혔다.

이번 계약에 따라 밀레는 LG전자의 로봇청소기 특허 기술을 사용해 로봇청소기를 생산하고 판매할 수 있게 됐다.

이번 계약은 LG전자가 로봇청소기에 채택한 ‘충전 유도 가이드’ 등 3가지 독자 기술에 관한 것이다.

‘충전 유도 가이드’는 청소를 마친 로봇청소기가 다음 청소까지 대기하기 위해 충전도크까지 정확하게 복귀할 수 있도록 해주는 기술이다.

대부분의 로봇청소기는 적외선 유도 신호를 따라 충전도크로 돌아오게 된다. LG전자 특허는 적외선이 일직선으로 곧게 뻗어나갈 수 있도록 격벽 구조를 이용해 다른 방향으로 나가는 적외선을 차단시킨다. 이 기술이 적용된 로봇청소기는 일직선으로 곧게 뻗어나간 적외선 신호를 감지하며 정확하게 충전도크까지 도착할 수 있다.

LG전자는 충전 유도 가이드 외에도 ‘먼지통에 결합되는 필터의 장착여부 감지구조’, ‘하부 브러시의 결합구조’ 등의 특허도 밀레가 사용할 수 있도록 했다. LG전자는 로봇청소기와 관련해 글로벌 기준 700건이 넘는 등록특허를 보유하고 있다.

앞서 LG전자는 지난해 6월 GE어플라이언스와 프리미엄 냉장고인 얼음정수기냉장고의 핵심특허인 도어 제빙과 관련한 특허 라이선스 계약을 체결한 바 있다. 이번 밀레와의 라이선스 계약으로 LG전자는 미국에 이어 유럽에서도 생활가전 분야의 앞선 특허 경쟁력을 인정받게 됐다.

전생규 LG전자 특허센터장 부사장은 “LG전자는 글로벌 가전시장을 선도하는 원동력인 지적재산권을 적극적으로 확보하고 있다”고 강조했다.

최신기사


    최신 뉴스 더보기




        많이 본 뉴스

          산업 최신 뉴스 더보기

            많이 본 뉴스